选择语言

ES-CP06 125A

应用范围:适用于控制器、两/三轮锂电池,以及其他通过 OT 端子传输电流的设备

优势:

• 高性能

• 高防护

• 成本友好

规格参数相关产品

性能参数:

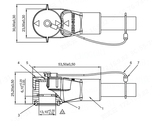
● 额定电压:630VAC

● 额定电流:125AMAX

● 防护等级:IP67(Mated )/IPXXD

● 接线规格:25mm²MAX

● OT端子适配螺钉规格:M6*1.0 @8.0N.m

● 没有预装螺丝组件

能带线出货


亚投app官方下载